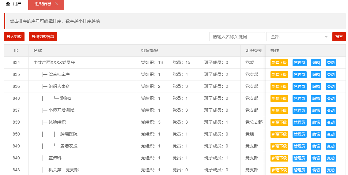
实现党组织信息统一管理,规范党组织成立、变更、换届、撤销流程,构建党组织基础信息库,生成党组织综合看板,精准高效获取党组织信息。统一党组织审核规范,加强领导班子管理,明确责任。有效解决党组织分散、难于管理的问题,提高党建工作科学化管理水平。

党组织是党的方针路线政策的贯彻者和执行者,是党联系广大党员群众的桥梁和纽带。党组织管理对于巩固党的执政基础,树立党在人民群众中的形象,激发党组织活力,具有非常重要的意义。“智慧党建”平台中的党组织管理是相关工作人员对组织相关信息进行一个统一管理的功能,以此来实现对党组织进行全历程跟踪。党的组织是一个系统,包含党的中央组织、地方组织和党的基层组织。党组织管理是指相关工作人员对组织相关信息进行一个统一管理的功能,以此来实现对党组织进行全历程跟踪。



















































.png)
.png)